Рубільник ВР32-31В31250 на 100А виробництва Промфактор
Вимикач-роз'єднувач здійснює:
- увімкнення;
- вимкнення;
- і пропускання електричного струму.
Призначений для роботи зі змінним струмом за напруги, що не перевищує ~660 В/50 Гц і з постійним струмом при напруги до 440 В у пристроях розподілу, без навантаження. Ці рубильники виготовляються на один і два напрями. Категорія застосування: AC-22.
Застосовуються в:
- жил і цивільного будівництва
- промислових об'єктів;
- електростанцій.
Технічні характеристики:
- номінальний струм: 100 (А);
- номінальна напруга: ~400 (В);
- кількість полюсів: 3;
- режим роботи: тривалий;
- категорія використання: AC-22;
- механічна зносостійкість: 2500 (циклів);
- категорія розміщення: У3;
- маса: 1,2 (кг).
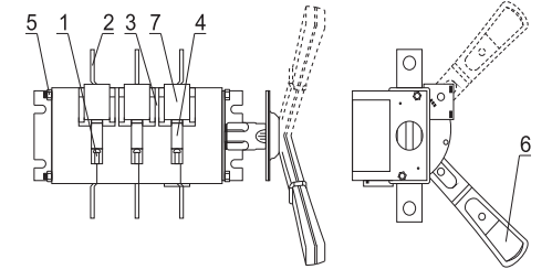
Конструкція рубильника ВР32-31В31250

- Рухомий контакт;
- Нерухомий контакт;
- Корпус;
- Вал;
- Шпилька;
- Ручка керування;
- Камера для гасіння дуги.
Основними вузлами пристрою є рухомі та нерухомі контакти, зібрані в пакет. Пакети триматися разом за допомогою металевих шпильок. Число пакетів відповідає кількості полюсів і ще один корпус, у якому міститься механізм фіксації ручки керування. Рухомі контакти вмонтовані в пластмасовий вал, під час обертання якого ручкою керування вимикається контактів.
У конструкції вимикача використана система контактів ножового типу з подвійним видимим розривом електричного ланцюга. Завдяки подвійному розриву ланцюга, великому відстанню між контактами, використанню камер, що забезпечується ефективне гасіння електричної дуги, що забезпечує тривалішу роботу контактів вимикача.
Конструкція контактних клем відповідає вимогам ГОСТ 24753 і забезпечує під'єднання мідних, алюмінієвих кабелів і дротів із кабельними наконечниками, шин за допомогою нарізних з'єднань.
Корпус виготовлений із негорючого, механічно міцного пластику. Контактні висновки виготовлені з високоякісної електротехнічної міді із захисним механічним покриттям.
Купити рубильники ВР32 виробу "Промфактор" у нашого підприємства можна або в офісі в Дніпропетруванні, або з доставкою по Україні.
| Основні | |
|---|---|
| Виробник | Промфактор |
| Країна виробник | Україна |
| Номінальний струм | 100 А |
| Напруга | 0.4 кВ |
| Частота струму | 50 Гц |
| Маса | 1.2 кг |
| Користувальницькі характеристики | |
| Механічна зносостійкість | 2500 |
| Категорія застосування | AC-22 |
| Категорія розміщення | УЗ |
| Режим роботи | тривалий |
- Ціна: Ціну уточнюйте

